
刚过质保期,长安UNI-T的中控屏就“罢工”?近日,多位车主向汽车投诉平台反映,他们的爱车车机触摸屏集体失灵,导致车辆多项调节功能无法使用。这究竟是巧合,还是另有隐情?

事情经过
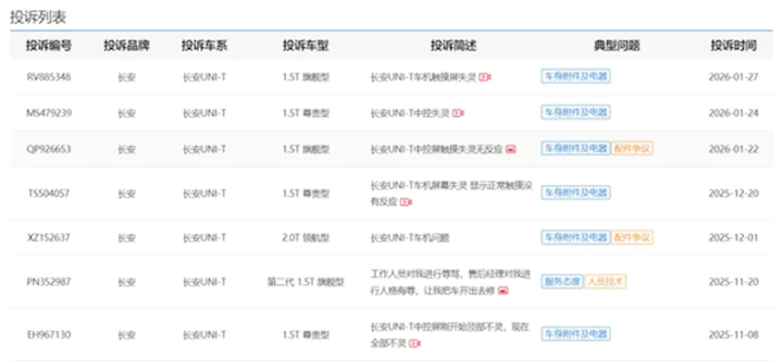
据媒体报道,近日,某汽车投诉平台收到多位长安UNI-T车主的投诉,投诉内容均为车机触摸屏失灵。这些车主的车辆主要集中于2020-2021款,问题表现为中控屏触摸无反应,导致车辆空调、音量等调节功能无法正常使用。

一位车主表示,他于2021年4月购车,刚过保修期,中控屏就出现失灵情况,屏幕触摸全无反应,只能用鼠标代替操作。该车主在网上搜索后发现,类似情况并非个例,许多车主都反映中控屏在过保修期后出现问题。此外,某汽车投诉平台上也有大量长安UNI-T车主投诉中控屏失灵的案例,且多数车辆刚过质保期就出现故障。

维修报价4、5千元,车主怎么办?
面对车主的投诉,长安厂家已联系部分车主进站检查。一位投诉车主表示,他在网上投诉后,长安厂家迅速与他取得联系,并安排进站检查。目前,问题正在解决中,但需要等待一周的时间才能得到最终处理结果。

然而,对于过保车辆如何解决这一问题,长安客服则称:内部资料,无法解答。有车主表示,他的车辆在2024年末出现局部失灵,今年五月份完全失灵,开云sports4S店表示只换不修,且报价高达4、5千元,理由是车辆已过质保期。车主对此表示不满,认为这是“坑人”行为。
那么问题来了,就目前有车主遇到“过保前未解决”的屏幕失灵问题,只能默认接受4、5千元的维修费用吗?如果车主想要免费维修,能否得到法律方面的支持?
律驰驾道观点
长安UNI-T车型中控屏事件的法律与情理争议分析
近期,多位长安UNI-T车主反映车辆中控屏在刚过质保期后出现触摸失灵问题,引发关于产品质量、保修政策与消费者权益之间的多重争议。事件核心不仅涉及具体故障的维修责任与费用承担,更触及汽车行业中存在的“过保即坏”现象是否合理、企业是否应承担隐性缺陷责任等深层议题。
{jz:field.toptypename/}一、质保期刚过即出现故障,是否属于“计划性报废”或产品隐性缺陷?
中控屏在车辆刚过保修期后集中出现失灵,引发消费者对产品质量与设计寿命的质疑。从技术角度看,车载电子部件的寿命应与车辆整体使用寿命相匹配,而非与质保期高度重合。若同一批次、同一型号车辆在相近时间段内出现相同故障,且时间点均处于质保期结束后不久,则不能简单归因于“巧合”,买球app可能是系统硬件或软件存在一定的质量问题。我国《产品质量法》明确规定,产品存在缺陷造成损害的,生产者应当承担赔偿责任。即便超出质保期,若消费者能证明产品存在设计或制造上的固有缺陷,仍可主张权利。
二、过保车辆维修费用高昂且“只换不修”,是否合理?
4S店对过保车辆中控屏故障采取“只换不修”策略,且报价高达四五千元,引发车主强烈不满。这一做法是否合理,需从维修成本、技术可行性、行业惯例等多方面审视。若屏幕模块为高度集成、无法拆修的设计,则“只换不修”在技术上或许成立,但高昂的定价是否与其成本匹配,值得追问。此外,车企是否有义务提供更经济的维修方案,或开放第三方维修渠道,也是消费者权益保护的重要议题。《消费者权益保护法》规定,经营者不得设定不公平、不合理的交易条件。若维修定价明显偏离合理范围,可能构成变相加重消费者责任。
三、车主能否主张免费维修或成本价维修?
车主在车辆过保后遭遇故障,尤其是疑似批量性问题时,往往希望厂家能出于品牌责任或产品质量承诺提供免费或优惠维修。法律层面上,若车主能证明故障在质保期内已出现征兆或已向4S店反映但未解决,则可主张延续性责任。此外,若厂家曾就该车型发布过相关技术通报或隐性召回通知,却未主动告知车主,车主也可据此维权。实践中,不少车企在面对批量性质量问题时,会选择以“善意保修”“客户关怀”等形式提供免费维修,以维护品牌声誉。因此,车主通过投诉、媒体曝光、司法途径等途径积极维权,往往能推动企业承担相应责任。
四、车企的售后响应与责任认定机制是否透明?
本事件中,长安客服对过保车辆维修政策回应为“内部资料,无法解答”,暴露出车企在售后服务信息透明度方面的不足。消费者有权知悉产品故障的可能原因、维修方案及定价依据,而非用“内部规定”搪塞。车企应当建立公开、合理的售后责任认定机制,对可能存在的批次性问题主动开展调查并告知车主,而非被动等待投诉。这不仅关乎企业诚信,也是其履行缺陷产品召回义务的体现。缺乏透明度的售后体系,容易加剧消费者不信任,引发更大的品牌危机。
综合来看,本事件不仅是一起产品质量纠纷,更折射出汽车行业在电子化、智能化进程中面临的售后责任新挑战。车企应在追求技术创新的同时,强化产品质量管控与生命周期管理,建立更柔性、透明的售后服务体系。消费者也应增强维权意识,善用投诉平台、媒体监督与法律途径,推动行业良性发展。只有双方在产品质量与售后服务上形成良性互动,才能构建更加健康、可持续的汽车消费环境。
我是江苏无锡朱春昊律师,关注我,带你了解更多汽车法律知识。